目前,中国的水资源极度紧缺,人们的节水意识仍有待提高,靠人们自主节水很难达到目的,通过提高水价受制于人们的经济水平也不太可行,所以想方设法通过比较经济的外在条件改善生活用水浪费是必要的,但在进行湿法制砂时需要用到大量的水,因此需要用到湿法制砂污水处理压滤机对产生的污水进行过滤,现有的污水处理压滤机在对过滤处的杂质和沙粒进行收集较为不便,且由于压滤机体积较大在进行移动时较为不便,在工作时易发生位移。
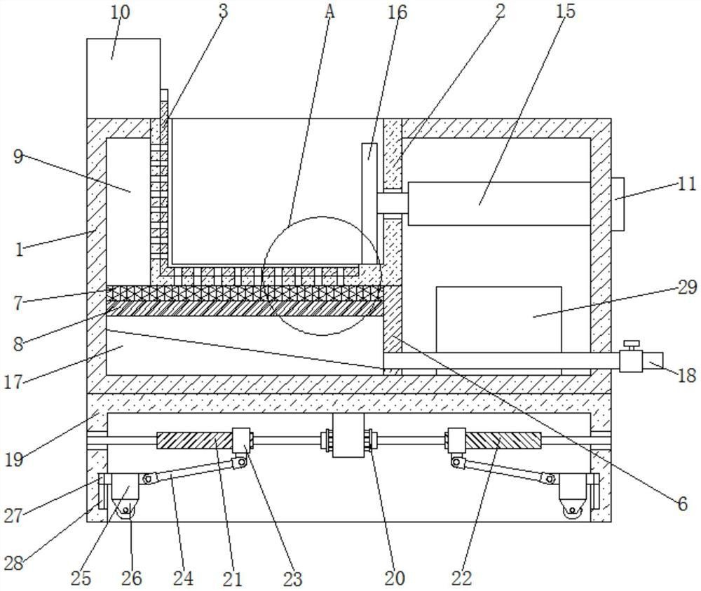
湿法制砂污水处理压滤机技术领域,涉及湿法制砂污水处理压滤机,其中,包括固定壳,所述固定壳的顶部开设有开口,且开口的内壁上固定连接有污水处理壳,所述污水处理壳的表面开设有凹槽,且凹槽内搭接有活动壳,所述活动壳与污水处理壳的表面均开设有滤孔,所述活动壳的内壁上设置有过滤布。其有益效果是,该湿法制砂污水处理压滤机,通过设置双轴电机,通过双轴电机带动正螺纹柱和反螺纹柱转动,使两个螺纹筒进行活动,使两个螺纹筒带动连接组件活动,使连接组件对活动腿进行支撑,方便对活动腿进行调节,便于将万向轮收回到底壳内或放出与地面接触,便于对装置进行移动和停放,且在进行停放时更加的稳定。
